摘要:孔板流量計是一種廣泛應用與化學工業的流量測量儀表。它在安裝、使用和維護等方面存在很多的不足,從而容易產生流量測量的誤差。通過對孔板流量計的研究,提出引起流量測量誤差的各種原因。通過補償和技術改造等措施對測量誤差進行了修正,從而保證了流量測量的準確性和實效性,這對于孔板流量計的準確計量具有一定的指導作用。
1.
概述
在自動化生錯過程中需要對流量進行測量,以控制生產過程中的工作狀況。流量這一參數是衡量設備的效率和經濟核算的重要指標,其測量精度是企業能源管理的重要手段。差壓式流量計是工業使用最多的流量計之一,其測量精度是由其測量原理、結構、制造工藝水平、被測流體的性質和使用條件等決定的。
2.
孔板流量計的組成和工作原理
2.1組成
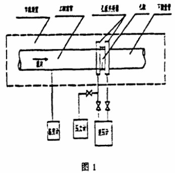
孔板流量計的結構組成如圖1所示,有節流裝置、差壓計(一般用差壓變送器)、壓力計、溫度計、引壓導管和流量顯示記錄儀等組成。

2.2工作原理
如圖2所示,只要獲得壓力、溫度、差壓即可根據一定的數學關系式計算出流量。
孔板流量計的安裝
3.1
節流元件(標準孔板)的安裝
節流件前后的直管段必須是直的,不得有肉眼可見的彎曲。節流件前后要求一段足夠長的直管段,應該按國際GBT2624-2006用安裝在圓形截面管道中的差壓裝置測量滿管流體流量的要求處理是最為合理的。但在實際工程上人們往往按照前10D后5D來進行安裝。
3.2引壓管的安裝
取壓管盡量按最短距離安裝,一般應小于16m。如被測介質為氣體是,應將取壓口定在水平線上偏45°的位置上,以使冷凝渡進入導壓管。對高粘度或腐蝕性介質,要加裝隔離器,通過隔離液將差壓信號傳遞給變送器。對液體介質,在導壓管最高點應安裝集氣器。
3.3差壓變送器的安裝
取壓點處應保證有直管段,兩邊各大于5D(管道直徑)。在蒸汽管道上取壓時,應在管道的側面安裝引壓管,平衡罐應安裝在引壓管的最高點處,排污管應在靠近變送器引壓管連接處安裝。取壓點與變送器的管道距離應大于1米,變送器的安裝位置應低于取壓點的位置。
4.
孔板流量計使用中的測量誤差分析
孔板流量計在實際應用時,如果使用不當,會使它的測量誤差增大,有時可達到10%左右。如何減少其計量誤差,需要合理選型、準確的設計計算和加工制造,更要注意正確安裝、維護和符合使用條件等才能保證孔板流量計有足夠的實際測量精度。下面就其測量誤差進行分析。
- 流量計算方程描述流動狀態真實性的不確定性因素,以及脈動流、多相流、漩渦流、不對稱流動等不符合標準規定,如果仍按照原有的儀表常數推算流量,將于實際流量有誤差,則可根據有關計算公式加以修正或重新設計計算。
- 測量裝置(如一次元件、二次儀表、計算輸出設備等)在滿足標準的技術要求前提下,由于各個裝置自身及環境條件因素引起的不確定因素。
孔板安裝不正確。安裝時孔板開孔中心與管道中心線不同心,會造成測量誤差,引壓管堵塞及墊片等凸出物的出現也是引起誤差的原因。
孔板入口邊緣被磨損。雖然標準孔板早已列入國際標準ISO5167和我國國家標準GB2624,但它在結構上是有其固有弱點的,它在實際使用中時不耐用的。一塊孔板的使用期限可以是十年或更長,但在安裝投運后僅4~5個月,其入口邊緣的尖銳度就已開始遭到破壞。在使用中,由于流體的磨蝕作用,特別是對于高壓、或高流速含顆粒的流體以及高溫蒸汽等,它的入口邊緣將更快的變鈍,被磨成圓形入口邊緣。其結果是,在相同的流量下,孔口后流體的收縮程度減弱,差壓不斷降低,會形成日益增大的負的流量誤差。孔板出口處的流速最小截面積在入口被磨蝕后已經增大,如果在此狀況下能夠標定,自然會發現該孔板的流出系數已經增大,但使用中仍沿用按標準公式計算得出的較小的系數,因此會出現日益增大的負的系統誤差。
孔板表面的結垢和流通截面積的變化。由于孔板流量計由節流件,長期使用時,臟污物將堆積在孔板的上游,造成差壓信號不準,直接影響計量精度。臟污和孔板鈍化可造成計量偏差2~10%以上。如果被測量的介質較臟(含焦油),造成孔板前后取壓環室被堵,取壓口的壓力發生變化或無壓差,流量計都無法正常工作,都會造成較大的測量誤差或無流量顯示。
(3)被測介質實際特性的不確定因素,如組分變化及取樣、分析誤差,以及實際物性變化影響儀表正常工作等對流量值的不確定度產生影響。
(4)變送器零點漂移和量程設置不當也會引起測量誤差。由于時間較長,變送器的零點會發生漂移,若是負漂移,變送器輸出電流則小于標準4MA,流量則顯示偏低,若是正漂移,變送器輸出電流則大于標準4MA,流量則顯示偏高。若量程設置較大,流量則顯示偏低,量程設置較小,流量則顯示偏高。
5.結束語
在我國長輸和集輸管道的工程實踐中,孔板流量計特別是高級孔板閥長期占據統治地位。客觀地講,在采用孔板流量計測量流量時,需要對孔板流量計的一次性裝置(孔板節流裝置)和二次儀表(差壓、靜壓、溫度、被測介質物性等)的選擇、設計、安裝、使用都要嚴格安裝有關標準進行,再加上不定期維護和檢查,才能保證流量計的測量精度。
以上內容來源于網絡,如有侵權請聯系即刪除!